Produkte > tecosign - best way to perform > SEILSYSTEME > BODEN- & DECKENHALTER

BODEN- & DECKENHALTER

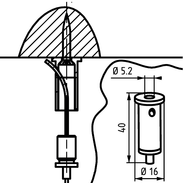
Technische Zeichnungen


Produktvarianten

Artikel Nr. Material Ausführung VE ME
50010 Messing vernickelt mit seitlichem Seilausgang zum Nachspannen von Ø 1.5 mm Stahlseile 1 St.